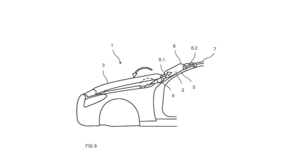
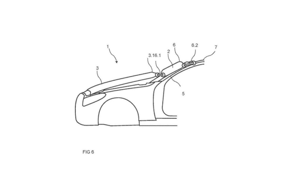
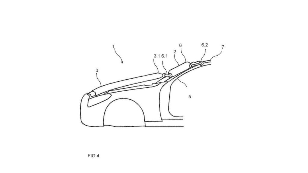
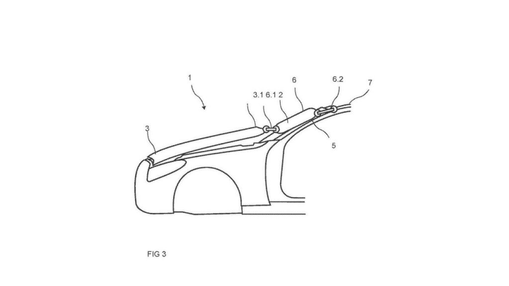
Concrètement, les airbags sont rangés dans les tubes en tissu intégrés dans les montants de pare-brise au repos. En cas de collision, ils sont déployés par des capteurs après le déclenchement du capot actif. Plutôt d’entrer en collision avec un pare-brise, un piéton entrerait en impact avec un obstacle plus absorbant diminuant ainsi les risques de blessure.
La demande d’enregistrement du brevet a été déposée en juillet 2015 d’après le Bureau américain des brevets et des marques qui a publié le brevet début août. Les deux années qui se sont écoulées demande de dépôt permettent d’espérer un développement avancé qui pourrait arriver sur un prochain modèle.
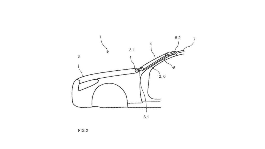
Source : Bureau américain des brevets et des marques
Source photo : Bureau américain des brevets et des marques









