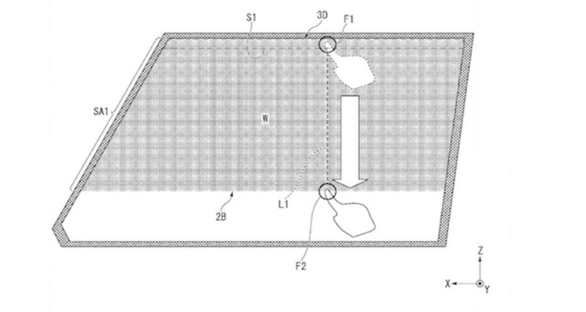
L’idée n’est pas nouvelle puisque Mercedes commercialise un toit similaire baptisé Magic Sky Control sur certains modèles. Le brevet montre toutefois que le constructeur japonais a développé un système plus évolué qui permettrait de contrôler l’opacité d’une vitre en glissant les doigts comme sur un smartphone.
Le brevet révèle aussi que ce système pourrait être utilisé pour les vitres latérales, mais aussi sur les pare-brises en remplacement des traditionnels pare-soleils. Toutefois, le système développé par Honda ne serait actif qu’à l’arrêt limitant sérieusement son application sur le terrain.
Source : Autoguide
Source photo : Honda
