La voiture préférée des propriétaires américains ? La Tesla Model S selon un sondage.
Auteur/autrice : La rédaction
Histoire de ne pas être trop distancée par la concurrence au niveau de l’autonomie la Hyundai Ioniq électrique, à peine introduite, va rapidement voir son rayon d’action être augmenté.
C’est simultanément à Hollywood et sur Snapchat, en marge de l’ouverture du salon de Los Angeles, que Ford vient de dévoiler l’EcoSport dans sa version restylée, déclinaison appelée à étoffer le catalogue nord-américain de la marque. Jusqu’ici non commercialisé sur ce marché le SUV compact y sera lancé au début de l’année prochaine comme millésime 2018.
Alfa Romeo Stelvio avale les lacets du col des Alpes avec lequel il partage son nom. Ultime teaser avant le lever de voile officiel.
Comme annoncé la flotte parisienne de taxis à hydrogène va sensiblement augmenter dans les prochains mois.
La relève de l’emblématique Classe G sera dévoilée par Mercedes l’année prochaine sur son salon national.
La petite Panamera junior ? Surnommée Pajun. Le petit Macan junior ? Gratifié du sobriquet Majun. Oui mais ni l’un ni l’autre n’étoffent jusqu’à maintenant le catalogue Porsche. Plus pour longtemps pour l’une des deux autos ?
Et si le généraliste tchèque renouait plus ou moins avec une silhouette coupé au catalogue ?
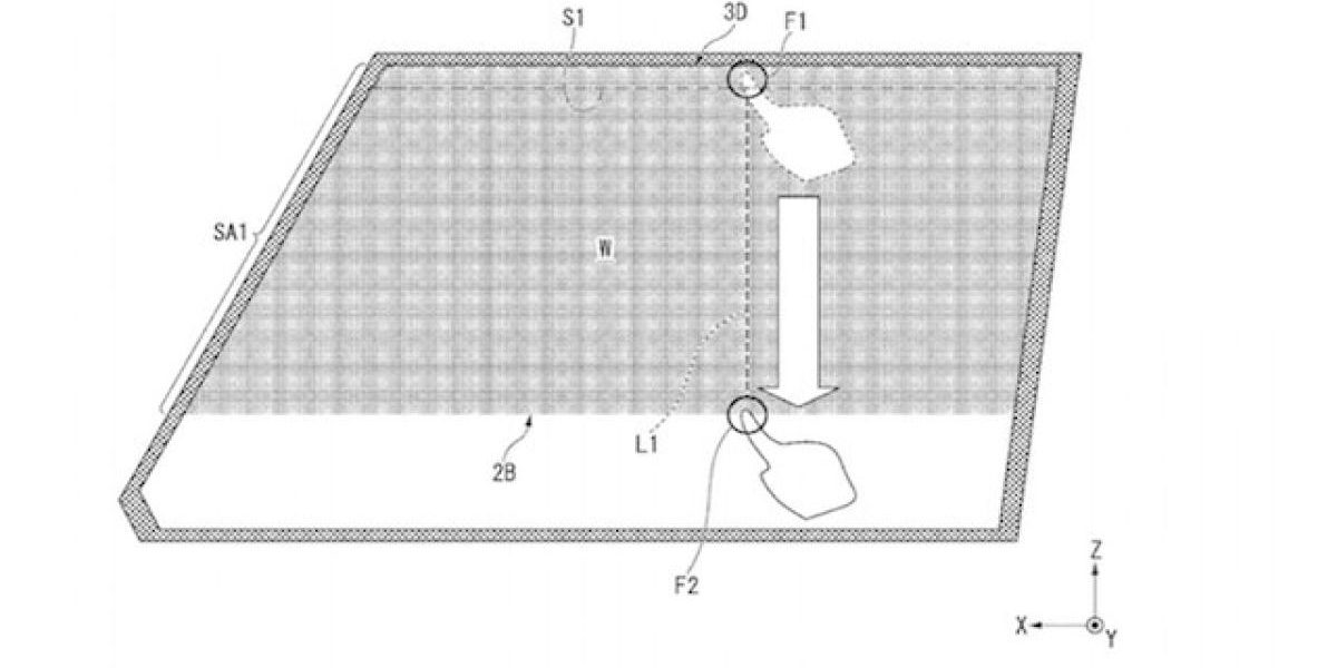
Honda a enregistré un brevet qui permet à un passager de teinter une vitre à la demande comme il ferait avec un smartphone.
Attendue pour la mi-2017, la prochaine génération de la BMW Série 3 a été photographiée lors d’une sortie.
